Apple este o companie pentru care brevetele de inventie conteaza foarte mult mai ales ca in ultimele luni ele au fost utilizate pentru a proteja iDevice-urile impotriva companiilor producatoare de terminale mobile cu sisten de operare Android. Astazi am pentru voi un nou brevet de inventie inregistrat companiei Apple numit Power Adapters for Powering and/or Charging Peripheral Devices care descrie un nou tip de incarcator universal care ar permite incarcarea unui dispozitiv si transferul de date in acelasi timp. Practic Apple descrie o metoda de a dezvolta un incarcator universal capabil sa incarce si Mac-uri si terminale iPhone insa un incarcator care ar permite celor 2 produse sa transfere date intre ele in timp ce incarcatorul este conectat la priza si le furnizeaza energie.
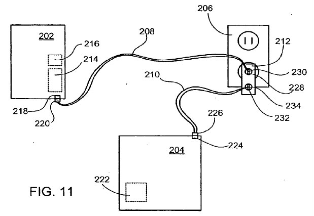
The filing describes “improved techniques for powering and/or charging peripheral devices through a data transmission lines.” The accompanying illustrations show a number of possible configurations for charging a device like an iPhone or iPod from the same wall plug that powers a portable Mac. “It would be desirable to remove the total number of connections made to a peripheral device so as to reduce the number of connectors and cables needed to operate the peripheral device,” the filing reads. “By reducing the number of connectors and cables, the peripheral size and the cost of the product may be decreased as well as the ease of use of the peripheral device may be improved (less cables to tote around).”
Ceea ce descrie Apple pare a fi un produs ideal care ne-ar permite sa scapam de multitudinea de incarcatoare disponibile pentru fiecare iDevice/Mac in parte. Desigur ca deocamdata totul se rezuma la un brevet de inventie insa un incarcator universal care ar putea incarca produse diferite dar ar permite transferul de date intre ele ar fi binevenit. Pana la lansarea unui asemenea dispozitiv va trece desigur o perioada buna de timp insa este imbucurator sa aflam ca Apple are in plan lansarea unui asemenea dispozitiv pentru clientii sai.
This post was last modified on sept. 22, 2011, 4:38 PM 16:38


View Comments (14)
am inteles ca sint la stadiul de brevet dar daca e mult transfer de date cred ca trebuie sa rezolve si partea cu incalzirea bateriei in timpul procesului respectiv,daca nu,va creste garadul de uzura al lor..
@calinc. E la fel ca si incarcarea cu sync prin usb, numai ca aici cablul nu intra in mac, ci in incarcator, acesta actionand ca un hub usb
Iar a reinventat Apple roata - transmisii de date pe reteaua de curent se fac de cel putin 10 ani de zile.
nu o inventeaza o breveteaza,iar cine are nevoie de ea..plateste,o asigurare pt viitor..;))
Nu cred ca, ar putea face asa ceva ar fi cam josnic sa breveteze cea ce chinezi au scos la telefoanele lor de ani buni ei au fost initiatori. Daca fac asa ceva inseamna ca, app alearga numai dupa profit parerea mea
apple ar face mai bine sa se supna normelor europene si sa scoata telefoane cu conector microusb si sa lase fitele pentru continentul lor
@zeitgeist: N-ai înțeles, dar dai cu parul - aici este vorba de un cablu de încărcare pe care se transmit simultan și date; până acum, băgai în priză un dispozitiv special la care conectai cablul de date conectat la portul de date dedicat din calculator, iar alimentarea calculatorului se făcea cu un cablu separat, conectat la sursa din calculator. Tehnologia brevetată acum de Apple - și care reprezintă de fapt completări ale unor brevete Apple din 2001 (!) - reduce totul la un singur cablu care se conectează la priză și la sursa de pe calculator, fără alte cabluri sau dispozitive suplimentare!
NU Tigris - tu nu ai inteles. Esenta este ca se vor transmite date pe reteaua de curent pt a face sync sau orice altceva.
Ca se va folosi un chip bridge care sa separe datele de alimentare, nu e nici o filozofie.
Daca doresti iti explic si tehnic cum se face asta si nu am nevoie de Apple sa-mi vanda patentul.
@zeitgeist: Nu, esențial nu este faptul că se transmit date prin cablul electric (asta face și un cablu USB, de ex.), ci faptul că aceasta se face prin cablul de alimentare al calculatorului conectat la priză și la sursa calculatorului, atât cablul cât și sursa funcționând (și) pentru a face trafic de date pe rețea.
mare smecherie ; asta puteau face de mult ; oare nu e acelasi lucru ca atunci cand conectezi tel pe usb la calc si se incarac si poti copia date in acelasi timp ?
@djcata: Numai că aici conectezi chiar calculatorul, nu un periferic low-voltage (sau un telefon conectat ca un periferic), și nu îl conectezi la un alt calculator, ci chiar la priză, și nu transmiți date numai către un singur calculator, ci către o întreagă rețea conectată tot la priză, și nu mai ai nevoie pentru asta de porturi dedicate (de ex. USB) și cabluri suplimentare, ci te folosești doar de cablul de alimentare - 1 cablu, 1 port, în loc de 2 cabluri, 2 porturi plus un dispozitiv de băgat în priză. Mai simplu, mai elegant!
da ai dreptate intr-un fel ,dar tot nu mi se pare ca apple trebuie sa breveteze ceva de genul asta , ceva ce e o evolutie naturala a ce se intampla acum ...... daca era ceva deosebit mai ziceam ......dar e o imbunatatiere a tehnicilor actuale
@djcata: Se pot breveta invenții, când noutatea este absolută (n-a mai făcut nimeni așa ceva înainte), precum și inovații, când noutatea constă în imbunătățirea în chip original a unor invenții sau inovații anterioare. În epoca noastră, majoritatea brevetelor se acordă pentru inovații.
În cazul în discuție, Apple a găsit o metodă de a inova și o descrie în cererea de brevet. De ce nu ar breveta metoda descoperită, nu-i de-ajuns cât fură și imită tot felul de copiatori asiatici, mai trebuie ca Apple să le lase și calea liberă să-și breveteze ei primii copiile și imitațiile?
mi se pare ca nu e un lucru asa de extraordinar incat sa il breveteze ...... e o chestie naturala de evolutie a lucrurilor .... cel putin asa mi se pare mie