In cursul anilor trecuti s-a zvonit in repetate randuri ca Apple ar urma sa implementeze proiectoare in iDevice-urile sale, insa in final acest lucru nu s-a intamplat. Un brevet de inventie acordat recent companiei din Cupertino demonstreaza exact contrariul, cei de la Apple descriind o metoda prin care pico-proiectoare pot fi implementate in iPhone-uri, tablete iPad, sau chiar Mac-uri. Utilizatorii ar controla proiectoarele folosind gesturi si ecranele tactile, partea interesanta fiind ca aceste dispozitive ar avea camere incorporate si ar putea recunoaste gesturile facute in fata lor.
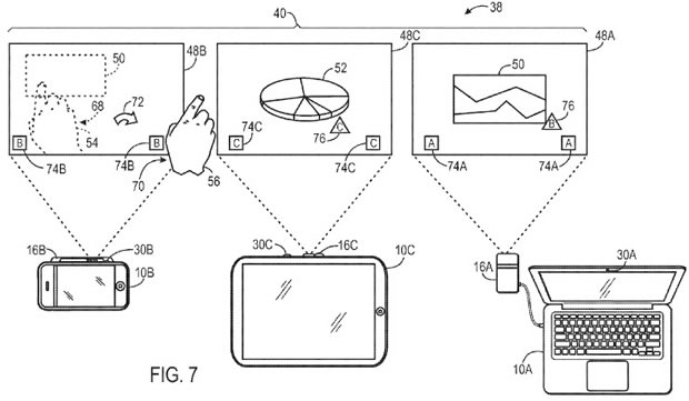
In one embodiment, electronic devices each may include a projector that produces a projected display and a camera that detects gestures made with respect to the projected displays. The electronic devices may interpret gestures on the projected displays to identify image sharing commands for sharing images between the projected displays. The electronic devices may be connected through a communication link that allows the electronic devices to share image data for producing images on any of the projected displays included within the shared workspace.
Tehnologia utilizata in aceste proiectoare ar permite interconectarea mai multor iDevice-uri intre ele si controlarea continutului de pe mai multe ecrane, acest lucru fiind extrem de util pentru prezentari. Daca in iDevice-uri Apple ar implementa proiectoarele direct in terminale, in cazul Mac-urilor ar fi nevoie de un accesoriu separat care ar afisa imaginile pe suprafata din fata lor. Ca sa fiu sincer, imi vine extrem de greu sa cred ca Apple ar putea implementa asemenea tehnologii in iDevice-uri in viitor apropiat, dar daca ar face-o, ar creste substantial vanzarile.
This post was last modified on iul. 16, 2013, 5:49 PM 17:49


View Comments (1)
Ar fi super