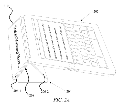
In interiorul campusului din Cupertino Apple dezvolta tehnologii noi pentru produse interesante si astazi am pentru voi un brevet de inventie care descrie o husa Smart Cover extrem de interesanta. Ea ar urma sa aiba un ecran flexibil care ar functiona ca si ecran secundar pentru tableta iPad si ar putea afisa mesajele primite de tableta, ar putea permite utilizatorilor sa foloseasca ecranul ca si tastatura virtuala pentru tableta sau ar putea chiar functiona exact ca un ecran normal si ar permite utilizatorilor sa foloseasca un stylus pentru a desena diverse obiecte.
Desigur ca functionalitatea nu se opreste aici, deoarece husa Smart Cover s-ar conecta direct la iOS, si ar extinde spatiul disponibil pe ecran implementand butoane pentru controlarea functiilor multimedia, ar permite afisarea unor diverse mesaje, etc. Din pacate vorbim doar despre un brevet de inventie pe care Apple l-a inregistrat si nu despre un produs real care este disponibil in magazine, dar exista sanse mari ca iPad 4 sa ne aduca aceasta husa pe piata si eu unul m-as bucura sa o am disponibila pentru tableta.
This post was last modified on aug. 2, 2012, 8:20 PM 20:20


View Comments (2)
"Extrem de interesant", "extrem de important", "extrem de grav". Zaone, imi place blogul tau foarte mult, numai ca uneori strile tale sunt putin prea "extreme". Este doar o critica constructiva, nimic mai mult.
Dupa mine brevetele astea de inventie ar trebui acordate DUPA lansare unui produs.
Sau, in cel mai rau caz, inainte ca "inventia" sa intre pe linia de productie. In felul acesta adevaratii creatori ai unor lucruri vor primi meritele, nu cei care au venit cu idei fara sa le puna in practiica. Brevet de inventie nu trebuie sa primeasca cine sa gandeste la un obiect care produce lumina, ci persoana care intradevar face un bec ( metaforic vorbind ).