Compania Apple a vrut sa produca masini ale caror bara frontala ar fi retractabila, conform unui brevet de inventie depus in 2015, si inregistrat abia in prezent. Puteti vedea in imaginea de mai jos cum arata aceasta bara retractabila pe care cei de la Apple au gandit-o pentru implementare in masini, tehnologia fiind interesanta.
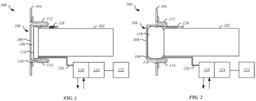
Apple a gandit un element retractabil care ar scoate in exterior bara frontala a unei masini, sau ar retrage-o in interiorul caroseriei, un balon urmand a facilita extinderea si retragerea sa. Balonul si un arc ar fi ascunse in caroserie, bara retractabila urmand a reduce lungimea masinii la nevoie, si ar oferi protectie suplimentara in caz de impact.
E greu de spus cum anume ar arata in lumea reala aspectul masinii cu o bara care ar putea fi retrasa, sau extinsa, dupa dorintele soferului, implementarea nefiind prea simpla. Chiar si asa, inginerii care au dezvoltat masini pentru compania Apple, au avut idei foarte indraznete, insa din cate se pare, sunt cam imposibil de pus in practica.
A vehicle includes a body portion, an opening defined by the body portion, and an extendable bumper that is positioned in the opening and is moveable with respect to the body portions between an extended position and a retracted position. The extendable bumper includes an inflatable structure that causes movement of the extendable bumper between the retracted position and the extended position in response to inflation and deflation of the inflatable structure.










































