Acasă Apple Apple comanda componente din fibra de carbon pentru un nou produs misterios

Apple comanda componente din fibra de carbon pentru un nou produs misterios

  De ani de zile se zvoneste ca Apple ar urma sa produca un iDevice din fibra de carbon si zvonurile vechi sunt “alimentate” acum de unul nou care reitereaza aceasta idee. Un blog din Japonia, care a furnizat informatii valide despre iPad 3 si iPhone 5, sustine ca Apple comanda cantitati insemnate ale unor componente din fibra de carbon pentru a le utiliza intr-un nou produs. Acum cateva luni de zile Apple a comandat la o companie japoneza unele componente din fibra de carbon pentru a le testa si se pare ca acele comenzi ar fi crescut indeajuns de mult pentru a se intelege ca ele ar fi produse in ideea lansarii unui produs nou.

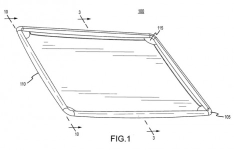
According to my source, some engineer of Apple and Foxconn Technology came on Japanese company, which has carbon production in mid-March, and they requested to develop some sample. I don’t have information which is ordered by Apple, source told the number of parts is too large to be called “sample”. Apple already submitted a patent “REINFORCED DEVICE HOUSING” to product case with layered matrix-fiber material like CFRP (Carbon Fiber Reinforced Plastic) , and hired Kevin Kenney who was charged in building carbon bicycle at Kestral Bicyclesas sensor composite engineer.

  Apple a angajat acum cateva luni de zile si un inginer specializat pe productia de biciclete din fibra de carbon, deci este interesata sa faca, ceva din acest material, acum ramane de vazut ce. E posibil ca iPad 4 sa aiba o carcasa din fibra de carbon, e posibil ca vreun Mac nou sa vina cu asa ceva, insa deocamdata acestea sunt doar pure speculatii care probabil nu vor avea un ecou in lumea reala.

9 COMENTARII

  1. Off topic !

    Daca am facut upgrade si am apoi am facut downgrade la 5.1.1 si abia acum am facut save blobs, pe viitor mai pot face aceeasi operatie? Oare a afecteza in vreun fel noul firm. .

  2. Chiar mi-ar placea sa am untelefon din fibra de carbon pe spate si pe fata din sticla care sa nu se sparga asa de usor. Poate sa aiba o rama subtire tot din fibra, chiar si fibra de sticla ar fi ok.

LĂSAȚI UN MESAJ

Vă rugăm să introduceți comentariul dvs.!
Introduceți aici numele dvs.