Compania Apple are idei nebune in legatura cu evolutia iPhone, iar cea mai recenta dintre ele are in vedere dezvoltarea unui iPhone pliabil si extrem de interesant. Vorbim despre un brevet de inventie care a fost inregistrat recent pentru compania Apple, el descriind o metoda prin care poate fi produs un iPhone al carui carcasa se pliaza in doua bucati.
Brevetul de inventie a fost depus pe data de 28 august de catre Apple, deci este foarte recent, iar cei de la Apple nu se ascund din a-si face cunoscute intentiile. Pentru a face un iPhone pliabil, compania Apple ar putea folosi sticla, ceramica, fibra de carbon, aluminiu sau chiar plastic, gama de materiale propuse fiind extrem de variata in acest punct.
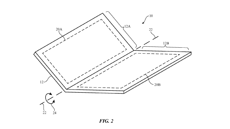
Totusi, pentru a permite plierea carcasei, Apple ar intentiona sa foloseasca o serie de nanotuburi din fibra de carbon, acestea putandu-se indoi impreuna cu restul componentelor. Desigur ca este nevoie si de un ecran pliabil pentru ca intregul concept sa fie functional, iar aici sta practic principala problema a ideilor de acest gen.
Apple breveteaza un iPhone pliabil
Partea interesanta este ca Apple descrie posibila folosire o unor piese care sa preia rolul unor articulatii si sa permita plierea in siguranta a smatphone-ului, lucru care ar cam distruge intreaga idee. Desi e putin probabil ca Apple sa foloseasca asa ceva, imaginatia inginerilor din Cupertino ne arata ce fel de idei exista acolo cu privire la viitorul iPhone.
„Conductive carbon nanotube paths can form signal paths that are flexible and resistant to cracking. The carbon nanotube structures may be incorporated into signal cables such as flexible printed circuit cables, rigid printed circuit boards, printed circuits that include rigid portions with flexible tails (sometimes referred to as “rigid flex”), portions of display structures, portions of touch sensors such as capacitive touch sensor arrays for displays or track pads, camera structures, antenna structures, housing structures, internal device structures, electrical components, substrates, brackets, housing walls, other structures, or combinations of these structures.”
Desi exista sanse minime ca un iPhone pliabil sa ajunga in viitorul apropiat pe piata, compania Apple nu este la primul brevet de inventie de acest gen. Presupun ca in viitor vom vedea si altele, dar nu trebuie sa va asteptati la un produs de acest gen prea curand.




























mda, un adevarat 2 in 1…sa ai si tableta si telefon
Eventual vor sa reinventeze… treaba asta deja Lenovo au făcut-o, au si telefon-tableta si telefon care se pliaza pe mâna ca un ceas. Căutați Lenovo CPlus ca sa va convingeți…
Oficiul American pentru Brevete probabil nu a auzit de chinezăria ta. Ar fi cazul sa-i anunți
Un rahat e mai mult un ceas telefon decat cum ai zis tu „telefon tableta si telefon again”
Si au scos la vanzare panarama aia ? Oricum apple nu va scoate un iPhone pliabil dar daca decid sa-l scoata oricum apple are destule fondouri financiare pentru a scoate acceso produs cat mai utilizabil prosibil… ne place sau nu. Cel mai clar exemplu Touch ID!
imaginatia inginerilor din Cupertino ne arata>>doar o clona a Samsung Foldable, Project Valley, patent, imagini si video prezentat acum vreo 3 ani impreuna cu Youm… 🙂